
|
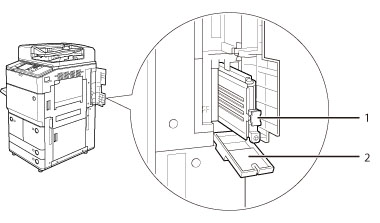
1.
|
硬碟托架
容納硬碟。若要存放硬碟,請將其置於硬碟托架中。
|
|
2.
|
前蓋板
開啟此蓋板安裝/移除硬碟托架。
|
|
注意
|
|
「抽取式硬碟組件」可以安裝到本機器的側面。有關將「抽取式硬碟組件」安裝到本機器的資訊,請與當地的授權Canon經銷商聯絡。
若本機器啟動時觸控面板顯示螢幕上顯示<E602-0001>,則硬碟可能沒有插入「抽取式硬碟組件」中。關閉本機器主電源,確認控制面板上的主電源指示燈已經熄滅,然後檢查「抽取式硬碟組件」。若在正確地安裝硬碟後錯誤訊息仍出現,請聯絡當地的授權Canon經銷商。
|