
|
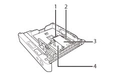
1
|
Guide gauche
Utiliser le guide gauche pour aligner la longueur des enveloppes chargées.
|
|
2
|
Guide de largeur arrière
Fixer le guide de largeur arrière à l'aide des vis fournies en fonction de la largeur des enveloppes.
|
|
3
|
Réceptacle d'enveloppes
Le réceptacle d'enveloppes soulève les enveloppes pour une alimentation correcte, même s'il n'en reste que quelques-unes. |
|
4
|
Guide de largeur avant
Fixer le guide de largeur avant à l'aide des vis fournies en fonction de la largeur des enveloppes.
|