8ビット・ドット列イメージの印字
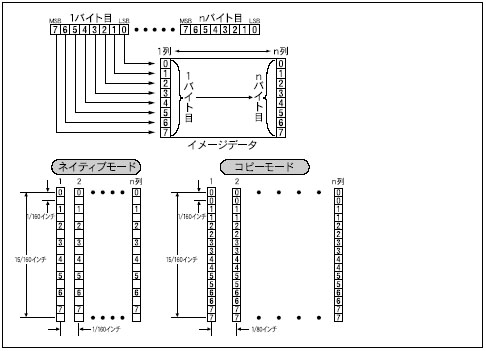
1列のドットに対して、8ビット分のデータを与えてイメージデータを印字します。
JIS
ESC S <ドット列数(4バイト)> (イメージデータ)
16進数
1Bh 53h <ドット列数(4バイト)> (イメージデータ)
<ドット列数(4バイト)>
ドット列数を4桁の10進数で指定します。
範囲:
0001~9999(10進数)
(イメージデータ)
16進数でイメージデータを指定します。
イメージデータの印字結果は、PC-PR201/80Aではネイティブモードとコピーモードとで次のようになりますが、本エミュレーションモードではモードの指定に関係なくドットの合間を埋めて(ベタ黒)印字します。
>
プリント
>
エミュレーション
>
N201エミュレーション
>
制御命令の種類
>
拡張制御命令
>
8ビット・ドット列イメージの印字
3E93-34R