“分页装订处理器-AC”和“鞍式分页装订处理器-AC”具备以下分页装订处理模式:“分套”、“分组”、“偏移”、“装订”、“无装订”(“节能”)和“手动装订”。
“鞍式分页装订处理器-AC”还具备“鞍式装订”模式和“鞍式折叠”模式。
注意 |
使用分页装订处理器时,请勿将手指或手放在分页装订处理器上。否则可能造成人身伤害或损坏分页装订处理器。 ![]() 从分页装订处理器的托盘取出纸张时,请勿将手放置在分页装订处理器的输出托盘上。该托盘可能会向上移动,因而可能会夹手。 如果安装了分页装订处理器,请勿将手放入托盘中正在执行装订操作的部分(辊附近),否则可能会导致人身伤害。 |
须知 |
请勿在分页装订处理器的托盘内放置除输出纸张以外的任何物品,否则可能会损坏托盘。 请勿在分页装订处理器托盘下面放任何异物,否则可能会损坏托盘。 ![]() |
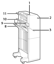
![]() | ![]() |
鞍式分页装订处理器-AC | 分页装订处理器-AC |
1. | 装订按钮 手动装订纸张(“手动装订”)时按此按钮。不按此按钮也可以装订纸张。可以指定从插入纸张后到装订纸张的时间。(请参阅““装订”模式中装订开始时间”) | ||||
2. | 前盖板(上) 打开以清除卡纸、清除装订组件中的卡针,或更换装订针盒。如果安装了“2/3孔打孔组件-A”/“2/4孔打孔组件-A”,打开以清理打孔废屑。 | ||||
3. | 装纸口 插入纸张以便手动装订纸张。 | ||||
4. | 前盖板(下) 打开以清除卡纸、清除卡针,或更换鞍式装订处理器中的装订针盒。 | ||||
5. | 书本托盘(仅“鞍式分页装订处理器-AC”) 鞍式装订或鞍式折叠的打印件输出至此托盘。 | ||||
6. | 锁定释放手柄(仅“鞍式分页装订处理器-AC”) 拉下手柄以解锁挡纸器。 | ||||
7. | 挡纸器(仅“鞍式分页装订处理器-AC”)
| ||||
8. | 托盘C 打印件输出至此托盘。使用某些功能时,可以通过设置“托盘指定”模式指定本托盘用于输出打印件。 (请参阅“输出托盘指定”) | ||||
9. | 纸张整理组件-A (可选) 如果安装了“纸张整理组件-A”,则可以自动对齐输出纸张。 | ||||
10. | 托盘B 打印件输出至此托盘。使用某些功能时,可以通过设置“托盘指定”模式指定本托盘用于输出打印件。 (请参阅“输出托盘指定”) | ||||
11. | 托盘A 打印件输出至此托盘。使用某些功能时,可以通过设置“托盘指定”模式指定本托盘用于输出打印件。 (请参阅“输出托盘指定”) |
注释 |
安装“加长纸手送托盘-B” (可选)时,扩展输出托盘被安装到托盘C的头位置。 |
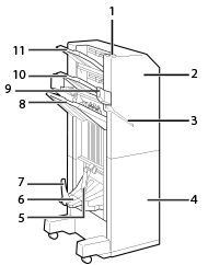
![]() | ![]() |
鞍式分页装订处理器-AC | 分页装订处理器-AC |
1. | 鞍式装订处理器 (仅“鞍式分页装订处理器-AC”) 拉出以清除卡纸或鞍式装订处理器中的卡针,或更换装订针盒。(请参阅“清除卡纸”) |
2. | 打孔废屑托盘(“2/3孔打孔组件-A”/“2/4孔打孔组件-A”) 拉出以清理打孔废屑。 (请参阅“清除打孔废屑(2/3孔打孔组件-A/2/4孔打孔组件-A)”) |
角订区域 | 双订区域 | |
![]() | ![]() | ![]() |
*1 左上 *2 右上 *3 右下 *4 左下 | *5 左页边 *6 右页边 |
角订区域 | 双订区域 | |
![]() | ![]() | ![]() |
*1 右上 *2 左上 *3 左下 *4 右下 | *5 右页边 *6 左页边 |

注释 |
在“无装订”模式下无法指定装订位置。根据原稿的尺寸和方向,仅在左上角或右上角进行折缝。 |

注释 |
可以设置开始装订之前等待的时间(以秒为单位)。(请参阅““装订”模式中装订开始时间”) 无需等到指定的装订开始时间,也可以执行装订。一手抓住纸叠,另一只手按装订按钮。 ![]() |
注释 |
在持续输出已打印的纸张期间,无法执行手动装订。 |
稿台玻璃 | 输稿器 |
![]() | ![]() |
* 打孔区域 |
![]() | ![]() |
2孔 | 3孔 |
* 1 70 mm (2 3/4") * 2 108 mm (4 1/4") |
![]() | ![]() |
2孔 | 4孔 |
* 80 mm (3 1/8") |

须知 |
可以装订如下纸张尺寸:A3、B4、8K、A4、A4R、B5、16K 无法装订重磅纸6、单面覆膜纸6、双面覆膜纸6、亚光覆膜纸6、单面覆膜纸7、双面覆膜纸7、亚光覆膜纸7、单面覆膜纸8、双面覆膜纸8、亚光覆膜纸8、纹理纸8、仿羊皮纸、透明薄膜、透明胶片、标签或信封。 可以在以下纸张尺寸上鞍式装订:305 mm x 457 mm、A3、B4、A4R 或自定义尺寸(195 mm x 270 mm到304.8 mm x 457.2 mm) 无法在重磅纸6、单面覆膜纸6、双面覆膜纸6、亚光覆膜纸6、单面覆膜纸7、双面覆膜纸7、亚光覆膜纸7、单面覆膜纸8、双面覆膜纸8、亚光覆膜纸8、纹理纸8、仿羊皮纸、透明薄膜、透明胶片、带孔纸、标签纸1、标签纸2、标签或信封上鞍式装订。 可以在以下纸张尺寸上打孔: 安装了“2/4孔打孔组件-A”时 A3和A4 无法在300 g/m2或更重的纸张上打孔。 可以在以下纸张尺寸上鞍式折叠:305 mm×457 mm、 A3、 B4、 A4R或自定义尺寸(195 mm x 270 mm到304.8 mm x 457.2 mm) 无法在重磅纸6、单面覆膜纸6、双面覆膜纸6、亚光覆膜纸6、单面覆膜纸7、双面覆膜纸7、亚光覆膜纸7、单面覆膜纸8、双面覆膜纸8、亚光覆膜纸8、纹理纸8、仿羊皮纸、透明薄膜、透明胶片、带孔纸、标签纸1、标签纸2、标签或信封上鞍式折叠。 |
注释 | ||||||||||||||||
如果设置了“分套”或“分组”模式,随着输出纸叠的数量和厚度的增加,输出托盘会下移。输出托盘达到堆放极限后,后面的打印件被自动输出到下一个可用托盘。所有可用托盘都达到堆放极限后,打印将停止。从托盘中取出所有输出纸张。托盘上移后打印继续进行。 如果设置了“分套”或“分组”模式时按[偏移],则每套打印件在输出到输出托盘前会向托盘的前部和后部交替移动大约30 mm。 设置“装订”模式后,随着输出纸叠的数量和厚度的增加,输出托盘会下移。输出托盘达到堆放极限后,打印和装订将停止。从输出托盘中取出所有已装订打印件后,继续打印和装订。 使用“装订”模式时,请勿在执行作业期间从输出托盘取出纸叠。作业完成后请取出纸叠。 可装订的最大纸张数量如下: A4、B5和16K:65张纸(52到91 g/m2)、50张纸(91到105 g/m2) A3、B4和8K:40张纸(52到91 g/m2)、25张纸(91到105 g/m2) 仅A4R:40张 如果本机在装订过程中停止运行,并且出现信息<添加装订针到装订组件。>,则表明装订针几乎用完,必须更换装订针箱。要继续操作,请更换装订针箱。 (请参阅“维护”) 只有安装了“鞍式分页装订处理器-AC”才能使用“鞍式装订”模式。 根据纸张重量和类型(包括封面纸张(最重256 g/m2)),可以鞍式装订的最大纸张数量可能会不同。
在“鞍式装订”模式下建立的折叠准确度会根据纸张类型和数量而有所差异。 只有安装了“2/3孔打孔组件-A”/“2/4孔打孔组件-A”才能使用“打孔”模式。 只有安装了“鞍式分页装订处理器-AC”,才能使用“鞍式折叠”模式。 鞍式折叠1到3张纸(80 g/m2),然后输出。 根据纸张类型的不同,可以装订的最大纸张数量可能会不同。在这种情况下,请更改纸张类型,或减少装订的张数。 有关“无装订”模式可使用的纸张尺寸的信息,请参阅"分页装订处理器-AC"和“鞍式分页装订处理器-AC”。 根据使用环境和纸张类型,折缝部分可能分开。 |
:可用纸张尺寸 | 托盘A | 托盘B | 托盘C | 书本托盘 | |
330 mm×483 mm | ![]() | ![]() | ![]() | - | |
SRA3 | ![]() | ![]() | ![]() | - | |
305 mm x 457 mm | ![]() | ![]() | ![]() | ![]() | |
A3 | ![]() | ![]() | ![]() | ![]() | |
A4 | ![]() | ![]() | ![]() | - | |
A4R | ![]() | ![]() | ![]() | ![]() | |
A5R | ![]() | ![]() | ![]() | - | |
B4 | ![]() | ![]() | ![]() | ![]() | |
B5 | ![]() | ![]() | ![]() | - | |
B5R | ![]() | ![]() | ![]() | - | |
8K | ![]() | ![]() | ![]() | - | |
16K | ![]() | ![]() | ![]() | - | |
16KR | ![]() | ![]() | ![]() | - | |
自定义尺寸(98.4 mm x 148 mm到330.2 mm x 487.7 mm) | ![]() | ![]() | ![]() | - | |
自定义尺寸(长条形纸张) (210 mm x 487.8 mm到330.2 mm x 1,300 mm) | - | - | * | - | |
信封 | No.10(COM10) | ![]() | ![]() | ![]() | - |
Monarch | ![]() | ![]() | ![]() | - | |
DL | ![]() | ![]() | ![]() | - | |
ISO-C5 | ![]() | ![]() | ![]() | - | |
Nagagata 3 | ![]() | ![]() | ![]() | - | |
Yougatanaga 3 | ![]() | ![]() | ![]() | - | |
Kakugata 2(横向放置/纵向放置) | ![]() | ![]() | ![]() | - | |
自定义尺寸(98.4 mm x 148 mm到330.2 mm x 487.7 mm) | ![]() | ![]() | ![]() | - | |
注释 |
只有安装了“鞍式分页装订处理器-AC”时,才可以使用“书本托盘”。 |