Staple Finisher-AC 및 Booklet Finisher-AC에는 소트, 그룹, 시프트, 스테이플, 스테이플 프리(에코) 및 수동 스테이플의 마무리 모드가 있습니다.
또한, Booklet Finisher-AC은 중철 모드 및 중철 접기 모드도 제공합니다.
주의 |
피니셔를 사용 중인 경우 피니셔에 손가락 또는 손을 놓지 마십시오. 이 경우 부상을 입거나 피니셔가 손상될 수 있습니다. ![]() 피니셔 트레이에서 용지를 제거할 때 피니셔의 배지 트레이에 손을 놓지 마십시오. 트레이가 위로 이동하여 손이 끼일 수도 있습니다. 피니셔를 장착한 경우, 스테플링이 수행되는 트레이 부위(롤러 근처)에 손을 놓지 마십시오. 부상을 입을 수 있습니다. |
중요 |
피니셔의 트레이 위에 출력 용지 이외의 다른 물체를 놓지 마십시오. 트레이가 손상될 수 있습니다. 피니셔 트레이 아래에 물건을 놓지 마십시오. 트레이가 손상될 수 있습니다. ![]() |
참고 |
펀처 유닛의 이름은 지역에 따라 다를 수 있습니다. |
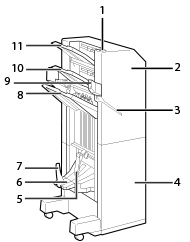
![]() | ![]() |
Booklet Finisher-AC | Staple Finisher-AC |
1. | 스테이플 버튼 수동으로 용지를 스테이플(수동 스테이플)하는 경우에 이 버튼을 누릅니다. 또한, 버튼을 누르지 않고도 용지를 스테이플할 수 있습니다. 용지를 삽입한 후 용지를 스테이플할 기간을 지정할 수 있습니다. ("스테이플 모드에서 스테이플 시작 시간" 참고) | ||||
2. | 앞 커버(상부) 열어 걸린 용지를 제거하거나 스테이플러 유니트에서 스테이플 걸림을 제거하거나 스테이플 카트리지를 교체합니다. "2/3 Hole Puncher Unit-A/2/4 Hole Puncher Unit-A/4 Hole Puncher Unit-A"가 설치된 경우 열어 펀치 폐기물을 버립니다. | ||||
3. | 슬릿 수동으로 용지를 스테이플할 용지를 삽입합니다. | ||||
4. | 앞 커버(하부) 열어 걸린 용지를 제거하거나 스테이플 걸림을 제거하거나 중철 유니트에서 스테이플 카트리지를 교체합니다. | ||||
5. | 제본 트레이(Booklet Finisher-AC에만 해당) 중철되거나 중철 접기된 인쇄물이 이 트레이로 출력됩니다. | ||||
6. | 잠금 해제 레버(Booklet Finisher-AC에만 해당) 레버를 당겨서 용지 스토퍼를 잠금 해제합니다. | ||||
7. | 용지 스토퍼(Booklet Finisher-AC에만 해당)
| ||||
8. | 트레이 C 인쇄물이 이 트레이로 출력됩니다. 특정 기능을 사용하는 경우, 전용 트레이 설정 모드를 설정하여 인쇄물을 출력하는 데 이 트레이를 지정할 수 있습니다. ("배지 트레이 지정" 참고) | ||||
9. | Finisher Jogger Kit-A(옵션) Finisher Jogger Kit-A이 장착된 경우 출력 용지가 자동으로 정렬됩니다. | ||||
10. | 트레이 B 인쇄물이 이 트레이로 출력됩니다. 특정 기능을 사용하는 경우, 전용 트레이 설정 모드를 설정하여 인쇄물을 출력하는 데 이 트레이를 지정할 수 있습니다. ("배지 트레이 지정" 참고) | ||||
11. | 트레이 A 인쇄물이 이 트레이로 출력됩니다. 특정 기능을 사용하는 경우, 전용 트레이 설정 모드를 설정하여 인쇄물을 출력하는 데 이 트레이를 지정할 수 있습니다. ("배지 트레이 지정" 참고) |
참고 |
Long Sheet Tray-B (선택 사항)을 장착하는 경우, 확장 출력 트레이는 트레이 C의 헤드에 장착됩니다. |
![]() | ![]() |
Booklet Finisher-AC | Staple Finisher-AC |
1. | 중철 유니트(Booklet Finisher-AC 전용) 당겨 빼 걸린 용지를 제거하거나 중철 유니트에서 스테이플 걸림을 제거하거나 스테이플 카트리지를 교체합니다. ("용지 걸림 제거" 참고) |
2. | 펀치 쓰레기통(2/3 Hole Puncher Unit-A/2/4 Hole Puncher Unit-A/4 Hole Puncher Unit-A) |
코너 스테이플 영역 | 더블 스테이플 영역 | |
![]() | ![]() | ![]() |
*1 상단 좌측 *2 상단 우측 *3 하단 우측 *4 하단 좌측 | *5 좌측면 *6 우측 |
코너 스테이플 영역 | 더블 스테이플 영역 | |
![]() | ![]() | ![]() |
*1 상단 우측 *2 상단 좌측 *3 하단 좌측 *4 하단 우측 | *5 우측면 *6 좌측면 |

참고 |
스테이플 프리에서는 스테이플 위치를 지정할 수 없습니다. 원고의 크기 및 방향에 따라 1개의 주름진 부분이 왼쪽 상단 또는 오른쪽 상단에 생깁니다. |

참고 |
스테이플링이 실행되기 전 경과 시간(초)을 설정할 수 있습니다. ("스테이플 모드에서 스테이플 시작 시간" 참고) 지정된 스테이플링 시작 시간 이전에 스테이플할 수도 있습니다. 한 손으로 용지 번들을 잡고 다른 손을 사용하여 스테이플 버튼을 누르십시오. ![]() |
참고 |
인쇄 용지가 출력 중인 동안에는 수동 스테이플링을 수행할 수 없습니다. |
원고대 | 피더 |
![]() | ![]() |
* 펀치 구멍 영역 |
![]() | ![]() |
구멍 2개 | 구멍 3개 |
*1 70 mm (2 3/4") *2 108 mm (4 1/4") |
![]() | ![]() |
구멍 2개 | 구멍 4개 |
* 80 mm(3 1/8") |
![]() |
구멍 4개 |
*1 21 mm (7/8") *2 70 mm (3/4") |

중요 |
다음 용지 크기는 스테이플할 수 있습니다. A3, B4, A4, A4R 또는 B5 두꺼운 용지 6, 단면 코팅지 6, 양면 코팅지 6, 무광 코팅지 6, 단면 코팅지 7, 양면 코팅지 7, 무광 코팅지 7, 단면 코팅지 8, 양면 코팅지 8, 무광 코팅지 8, 결무늬 용지 8, 모조지, 투명 필름, OHP 필름, 라벨 용지 또는 봉투는 스테이플할 수 없습니다. 다음 용지 크기는 중철할 수 있습니다. 305 mm x 457 mm, A3, B4, A4R 또는 사용자 설정 크기(195 mm x 270 mm ~ 304.8 mm x 457.2 mm) 두꺼운 용지 6, 단면 코팅지 6, 양면 코팅지 6, 무광 코팅지 6, 단면 코팅지 7, 양면 코팅지 7, 무광 코팅지 7, 단면 코팅지 8, 양면 코팅지 8, 무광 코팅지 8, 결무늬 용지 8, 모조지, 투명 필름, OHP 필름, 펀치된 용지, 인덱스지 1, 인덱스지 2, 라벨 용지 또는 봉투는 중철할 수 없습니다. 다음 용지 크기에는 펀치 구멍을 만들 수 있습니다. 2/4 Hole Puncher Unit-A이 장착된 경우 A3 및 A4 4 Hole Puncher Unit-A이 장착된 경우 A3, B4, A4, A4R, B5 및 B5R 300 g/m2 이상인 용지에는 구멍을 펀치할 수 없습니다. 다음 용지 크기는 중철 접기할 수 있습니다. 305 mm x 457 mm, A3, B4, A4R 또는 사용자 설정 크기(195 mm x 270 mm ~ 304.8 mm x 457.2 mm) 두꺼운 용지 6, 단면 코팅지 6, 양면 코팅지 6, 무광 코팅지 6, 단면 코팅지 7, 양면 코팅지 7, 무광 코팅지 7, 단면 코팅지 8, 양면 코팅지 8, 무광 코팅지 8, 결무늬 용지 8, 모조지, 투명 필름, OHP 필름, 펀치된 용지, 인덱스지 1, 인덱스지 2, 라벨 용지 또는 봉투는 중철 접기할 수 없습니다. |
참고 | ||||||||||||||||
소트 또는 그룹 모드를 설정한 경우, 출력되는 용지의 양과 두께가 증가하면서 배지 트레이는 아래로 이동합니다. 배지 트레이가 적재 한계가 되면 후속 인쇄물은 사용할 수 있는 다음 트레이로 자동 배지됩니다. 사용할 수 있는 트레이가 모두 적재 한계가 되면, 인쇄가 중지됩니다. 출력된 용지를 배지 트레이에서 모두 제거하십시오. 트레이가 위로 이동하고 인쇄가 다시 시작됩니다. 소트 또는 그룹 모드를 설정할 때 [시프트]를 누르면 배지 트레이로 출력되기 전에 각각의 인쇄물 세트가 트레이 앞/뒤로 번갈아 약 30 mm 이동됩니다. 스테이플 모드를 설정한 경우, 출력되는 용지의 양과 두께가 증가하면서 배지 트레이는 아래로 이동합니다. 배지 트레이가 적재 한계가 되면 인쇄와 스테이플링이 일시적으로 중지됩니다. 배지 트레이에서 스테이플된 인쇄물을 모두 제거하면 인쇄 및 스테이플 작업이 다시 시작됩니다. 스테이플 모드를 사용하는 경우 작업 시 배지 트레이에서 출력된 용지를 제거하지 마십시오. 작업이 완료된 후에만 출력된 용지를 제거하십시오. 스테이플할 수 있는 용지의 최대 매수는 다음과 같습니다: A4: 65매 용지(52 ~ 91 g/m2), 50매 용지(91 ~ 105 g/m2) A3: 40매 용지(52 ~ 91 g/m2), 25매 용지(91 ~ 105 g/m2) A4R 전용: 40매 용지 스테이플하는 동안 <스테이플러에 스테이플을 보급해 주십시오.>라는 메시지가 나타나면서 기기가 정지한 경우, 거의 모든 스테이플을 사용한 것이므로 스테이플 카트리지를 교체해야 합니다. 계속하려면 스테이플 카트리지를 교체하시기 바랍니다. ("유지보수" 참고) 중철 모드는 Booklet Finisher-AC가 장착된 경우에만 사용할 수 있습니다. 중철할 수 있는 최대 매수는 용지 무게 및 종류(표지 포함(최대 256 g/m2))에 따라 달라집니다.
중철 모드로 작성된 접기의 정확성은 용지 종류 및 용지 매수에 따라 달라질 수도 있습니다. 펀치 구멍 모드는 2/3 Hole Puncher Unit-A/2/4 Hole Puncher Unit-A/4 Hole Puncher Unit-A이 장착된 경우에만 사용할 수 있습니다. 중철접기 모드는 Booklet Finisher-AC이 장착된 경우에만 사용할 수 있습니다. 용지(80 g/m2) 1~3매가 중철 접기된 후 출력됩니다. 용지 종류에 따라서는 바인딩 가능 용지의 최대 수가 불가능할 수도 있습니다. 이 경우 용지 종류를 변경하거나 바인딩할 용지 수를 줄이십시오. 스테이플 프리에서 사용할 수 있는 용지 크기에 관한 내용은 "Staple Finisher-AC" 및 "Booklet Finisher-AC"을 참고하십시오. 사용 환경 및 용지 종류에 따라 주름진 부분이 분리될 수 있습니다. |
: 사용 가능용지 크기 | 트레이 A | 트레이 B | 트레이 C | 소책자 트레이 | |
330 mm x 483 mm | ![]() | ![]() | ![]() | - | |
SRA3 | ![]() | ![]() | ![]() | - | |
305 mm x 457 mm | ![]() | ![]() | ![]() | ![]() | |
A3 | ![]() | ![]() | ![]() | ![]() | |
A4 | ![]() | ![]() | ![]() | - | |
A4R | ![]() | ![]() | ![]() | ![]() | |
A5R | ![]() | ![]() | ![]() | - | |
B4 | ![]() | ![]() | ![]() | ![]() | |
B5 | ![]() | ![]() | ![]() | - | |
B5R | ![]() | ![]() | ![]() | - | |
사용자 설정 크기(98.4 mm x 148 mm ~ 330.2 mm x 487.7 mm) | ![]() | ![]() | ![]() | - | |
사용자 설정 크기(긴 용지) (210 mm x 487.8 mm ~ 330.2 mm x 1,300 mm) | - | - | * | - | |
봉투 | No.10(COM10) | ![]() | ![]() | ![]() | - |
Monarch | ![]() | ![]() | ![]() | - | |
DL | ![]() | ![]() | ![]() | - | |
ISO-C5 | ![]() | ![]() | ![]() | - | |
Nagagata 3 | ![]() | ![]() | ![]() | - | |
Yougatanaga 3 | ![]() | ![]() | ![]() | - | |
Kakugata 2(가로로 세트/세로로 세트) | ![]() | ![]() | ![]() | - | |
사용자 설정 크기(98.4 mm x 148 mm ~ 330.2 mm x 487.7 mm) | ![]() | ![]() | ![]() | - | |
참고 |
제본 트레이는 Booklet Finisher-AC이 장착된 경우에만 사용할 수 있습니다. |