Staple Finisher-AC/Booklet Finisher-AC/2/4 Hole Puncher Unit-A/4 Hole Puncher Unit-A

Staple Finisher-AC и Booklet Finisher-AC могут работать в следующих режимах конечной обработки: Сортировка, Группа, Смещение, Сшивание (Угловое и Двойное), Сшивание без скрепок (Экологичное) и Сшивание вручную.
Модуль Booklet Finisher-AC также оборудован режимами "Центральная прошивка" и "Сгиб по центру".
Если подсоединен 2/4 Hole Puncher Unit-A/4 Hole Puncher Unit-A, можно также использовать режим Перфорация отверстий.
ВНИМАНИЕ!
Во время работы финишера не кладите на него пальцы или руки. Это может привести к травме или повреждению финишера.
Убирая бумагу из лотка финишера, не кладите руки на его выводной лоток. Лоток может переместиться вверх и прищемить Вам руки.
При подключенном финишере следите за тем, чтобы рука не попала в ту часть карманов, где происходит сшивание (возле валиков), поскольку это может привести к травме.
ВАЖНО
Ничего не кладите на лотки финишера, за исключением выводимой бумаги, поскольку это может привести к повреждению лотков.
Ничего не кладите под лотки финишера, поскольку это может привести к повреждению лотков.
ПРИМЕЧАНИЕ
Название перфоратора может отличаться в зависимости от региона.

Компоненты и их назначение

Вид снаружи
Booklet Finisher-AC
Staple Finisher-AC
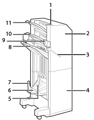
1.
Кнопка сшивания
Нажмите эту кнопку, если отпечатки требуется сшить вручную (функция "Сшивание вручную"). Бумагу также можно сшить, не нажимая эту кнопку. Можно указать время сшивания отпечатков после вставки листа бумаги. (См. раздел "Время запуска сшивания в режиме сшивания".)
2.
Передняя крышка (верхняя)
Откройте эту крышку для удаления замятой бумаги, удаления застрявших скрепок из скоросшивателя или для замены картриджа со скрепками. Если установлен блок "2/4 Hole Puncher Unit-A/4 Hole Puncher Unit-A", откройте эту крышку для удаления отходов перфорации.
3.
Прорезь
Служит для вставки листов для сшивания бумаги вручную.
4.
Передняя крышка (нижняя)
Откройте эту крышку для удаления замятой бумаги, удаления застрявших скрепок или для замены картриджа со скрепками блока центральной прошивки.
5.
Лоток для буклетов (только Booklet Finisher-AC)
В этот лоток выводятся распечатки с центральной прошивкой.
6.
Рычаг снятия блокировки (только Booklet Finisher-AC)
Потяните рычаг вниз, чтобы разблокировать стопор для бумаги.
7.
Стопор для бумаги (только Booklet Finisher-AC)
ВАЖНО
При опускании стопора для бумаги потяните вниз рычаг снятия блокировки.
В ином случае стопор для бумаги может быть поврежден.
ПРИМЕЧАНИЕ
Опустите стопор для бумаги, чтоб отменить ограничение на количество копий переплета книг и выполнять печать непрерывно. Это удобно при печати больших объемов. Однако следует обязательно подготовить приемный короб для предотвращения рассыпания выводимой бумаги по полу.
8.
Лоток C
В этот лоток выводятся распечатки. Можно задать режим Обозначение лотка для указания этого лотка для вывода распечаток при использовании определенных функций. (См. раздел "Назначение выводного лотка".)
9.
Finisher Jogger Kit-A(опциональный)
Если подключен модуль Finisher Jogger Kit-A, выводимую бумагу можно выровнять автоматически.
10.
Лоток В
В этот лоток выводятся распечатки. Можно задать режим Обозначение лотка для указания этого лотка для вывода распечаток при использовании определенных функций. (См. раздел "Назначение выводного лотка".)
11.
Лоток A
В этот лоток выводятся распечатки. Можно задать режим Обозначение лотка для указания этого лотка для вывода распечаток при использовании определенных функций. (См. раздел "Назначение выводного лотка".)
ПРИМЕЧАНИЕ
При подсоединении модуля Long Sheet Tray-B (приобретается дополнительно) к верхней стороне лотка B подсоединяется удлинитель выводного лотка.
Внутреннее устройство аппарата
Booklet Finisher-AC
Staple Finisher-AC
1.
Блок центральной прошивки (только Booklet Finisher-AC)
Выдвиньте его для удаления замятой бумаги, удаления застрявших скрепок из блока прошивки или для замены картриджа со скрепками. (См. раздел "Clearing Paper Jams".)
2.
Лоток для отходов перфорации (2/4 Hole Puncher Unit-A/4 Hole Puncher Unit-A)
Выдвиньте лоток для удаления отходов перфорации. (См. раздел "Removing Punch Waste (2/4 Hole Puncher Unit-A/4 Hole Puncher Unit-A)".)

Режимы конечной обработки

Staple Finisher-AC и Booklet Finisher-AC могут работать в следующих режимах конечной обработки:

Режим "Сортировка"

Распечатки автоматически сортируются в комплекты по порядку страниц.

Режим "Группа"

Все распечатки каждой страницы оригинала группируются в комплекты.

Режим "Смещение"

Выводимые распечатки поочередно сдвигаются в переднюю и заднюю части лотка
Бумага выводится в вертикальной (книжной) ориентации или в горизонтальной (альбомной) ориентации в зависимости от ориентации оригиналов. Например, в случае оригиналов формата A4R бумага выводится в горизонтальном направлении. В случае оригиналов формата A4 бумага выводится в вертикальном направлении.

Режим "Сшивание"

Распечатки автоматически сортируются в комплекты по порядку страниц и сшиваются. Распечатки сшиваются в следующих местах.
Если оригинал установлен на стекло экспонирования:
Участок углового сшивания
Участок двойного сшивания
*1 Вверху слева
*2 Вверху справа
*3 Внизу справа
*4 Внизу слева
*5 Слева
*6 Справа
Если оригиналы установлены в устройство подачи:
Участок углового сшивания
Участок двойного сшивания
*1 Вверху справа
*2 Вверху слева
*3 Внизу слева
*4 Внизу справа
*5 Правая сторона
*6 Левая сторона

Режим "Центральная прошивка"

Распечатки собираются в буклеты, состоящие из сложенных и сшитых по центру страниц.

Сшивание без скрепок

Распечатки сшиваются путем сгибания листов без использования скрепок. Чтобы отсоединить лист бумаги, нажмите пальцами на место отгиба. Такой способ временного сшивания бумаги позволяет сэкономить скобы.
ПРИМЕЧАНИЕ
Указать положение скрепок в режиме «Сшивание без скрепок» нельзя. В верхнем левом или правом углу выполняется только один сгиб в зависимости от размера и направления оригиналов.

Сшивание вручную

Распечатки можно сшивать вручную путем вставки отпечатанной бумаги в прорезь. Например, можно удалить скрепки, с помощью которых прошит документ, затем скопировать или отсканировать документ, после чего снова прошить его.
1.
Вставьте стопку бумаги нужного объема в прорезь Staple Finisher-AC/Booklet Finisher-AC.
Введите угол стопки, подлежащий сшиванию, прямо в прорезь, держа стопку лицевой стороной вниз.
Когда стопка бумаги будет обнаружена, кнопка сшивания начнет мигать и будет выполнено автоматическое сшивание.
ПРИМЕЧАНИЕ
Можно задать время до начала сшивания в секундах. (См. раздел "Время запуска сшивания в режиме сшивания".)
Можно выполнять сшивание без ожидания в течение указанного времени. Для этого, держа одной рукой стопку, другой рукой нажмите кнопку сшивания.
2.
Извлеките стопку бумаги.
Дождитесь выключения кнопки сшивания, затем извлеките стопку бумаги.
ПРИМЕЧАНИЕ
Невозможно выполнять сшивание во время вывода отпечатанной бумаги.

Режим "Перфорация отверстий"

В отпечатанных листах пробиваются два–четыре отверстия.
Область перфорации показана на рисунке ниже.
Стекло экспонирования
Устройство подачи
* Участок перфорации
Расстояние между отверстиями перфорации показано на рисунке ниже.
2/4 Hole Puncher Unit-A
2 отверстия
4 отверстия
* 80 мм (3 1/8")
4 Hole Puncher Unit-A
4 отверстия
*1 21 мм (7/8")
*2 70 мм (3/4")

Режим "Сгиб по центру"

Аппарат складывает бумагу пополам.
ВАЖНО
Сшивание возможно для бумаги следующих форматов: A3, A4 или A4R.
Невозможно сшивание для бумаги: плотная 6, с 1-сторонним покрытием 6, с 2-сторонним покрытием 6, с матовым покрытием 6, с 1-сторонним покрытием 7, с 2-сторонним покрытием 7, с матовым покрытием 7, с 1-сторонним покрытием 8, с 2-сторонним покрытием 8, с матовым покрытием 8, текстурная 8, веленевая, прозрачная пленка, OHP-пленки, этикетки или конверты.
Центральная прошивка возможна для бумаги следующих форматов: 305 x 457 мм, A3, A4R или Пользовательский формат (от 195 x 270 до 304,8 x 457,2 мм)
Центральная прошивка невозможна для бумаги: плотная 6, с 1-сторонним покрытием 6, с 2-сторонним покрытием 6, с матовым покрытием 6, с 1-сторонним покрытием 7, с 2-сторонним покрытием 7, с матовым покрытием 7, с 1-сторонним покрытием 8, с 2-сторонним покрытием 8, с матовым покрытием 8, текстурная 8, веленевая, прозрачная пленка, OHP-пленки, бумага с перфорацией, бумага для разделителей 1, бумага для разделителей 2, этикетки или конверты.
Перфорация отверстий возможна для бумаги следующих форматов:
Если подсоединен 2/4 Hole Puncher Unit-A
A3 и A4
Если подсоединен 4 Hole Puncher Unit-A
A3, A4 и A4R
Нельзя также выполнять перфорацию отверстий для бумаги плотностью 300 г/м2 или более.
Сгиб по центру возможен для бумаги следующих форматов: 305 x 457 мм, A3, A4R или Пользовательский формат (от 195 x 270 до 304,8 x 457,2 мм)
Сгиб по центру невозможен для бумаги: плотная 6, с 1-сторонним покрытием 6, с 2-сторонним покрытием 6, с матовым покрытием 6, с 1-сторонним покрытием 7, с 2-сторонним покрытием 7, с матовым покрытием 7, с 1-сторонним покрытием 8, с 2-сторонним покрытием 8, с матовым покрытием 8, текстурная 8, веленевая, прозрачная пленка, OHP-пленки, бумага с перфорацией, бумага для разделителей 1, бумага для разделителей 2, этикетки или конверты.
ПРИМЕЧАНИЕ
Указания по обслуживанию финишера, такому как замена скрепок, см. в разделе "Maintenance". Сведения об устранении замятия бумаги или удалении застрявших скрепок см. в разделе "Problem Solving".
Если установлен режим Сортировка или Группа, то выводной лоток смещается вниз по мере увеличения толщины пачки выводимых листов. Если для выводного лотка достигнуто предельное значение высоты пачки, последующие распечатки автоматически выводятся в другой доступный лоток. Если бумага во всех лотках достигла ограничительных отметок, печать останавливается. Уберите из лотков всю выведенную бумагу. Лотки смещаются вверх, и печать возобновляется.
Если нажата клавиша [Смещение], когда задан режим "Сортировка" или "Группа", перед выводом в выводной лоток каждый комплект распечаток попеременно сдвигается приблизительно на 30 мм к передней и задней стороне лотка.
Если установлен режим Сшивание, то выводной лоток смещается вниз по мере увеличения толщины пачки выводимых листов. Если выводной лоток достиг предельного значения высоты стопки, печать и сшивание останавливаются. После удаления всех сшитых распечаток с выводного лотка печать и сшивание возобновятся.
При использовании режима Сшивание не убирайте пачку бумаги из выводного лотка во время выполнения задания. Уберите пачку бумаги после завершения задания.
Максимальное количество сшиваемых листов:
A4: 65 листов бумаги (52–91 г/м2), 50 листов бумаги (91–105 г/м2)
A3: 40 листов бумаги (52–91 г/м2), 25 листов бумаги (91–105 г/м2)
Только A4R: 40 листов
Если аппарат останавливается при сшивании и появляется сообщение <Загрузите скрепки в блок сшивания.>, то это означает, что все скрепки использованы и необходимо заменить картридж для скрепок. Для продолжения работы замените картридж для скрепок. (См. раздел "Maintenance".)
Режим Центральная прошивка доступен только в том случае, если подсоединен Booklet Finisher-AC.
Максимальное количество листов для центральной прошивки зависит от плотности и типа бумаги (в том числе один лист обложки (не более 256 г/м2)).
Тонкая/Обычная бумага (52 г/м2–81 г/м2):
20 листов
Обычная бумага (82 г/м2–105 г/м2):
10 листов
Плотная бумага (106 г/м2–150 г/м2):
5 листов
Плотная бумага (151 г/м2–209 г/м2):
4 листа
Плотная бумага (210 г/м2–220 г/м2):
3 листа
Бумага с покрытием (85 г/м2–150 г/м g/m2):
5 листов
Бумага с покрытием (151 г/м2–209 г/м2)
4 листа
Бумага с покрытием (210 г/м2–220 г/м2):
3 листа
Точность сгиба в режиме Центральная прошивка может меняться в зависимости от типа бумаги и количества листов.
Режим Перфорация отверстий доступен только в том случае, если подсоединен 2/4 Hole Puncher Unit-A/4 Hole Puncher Unit-A.
Режим Сгиб по центру доступен только в том случае, если подсоединен Booklet Finisher-AC.
Выполняется сгиб по центру 1–3 листов бумаги (80 г/м2), которые затем выводятся.
В зависимости от типа бумаги максимальное количество сшиваемых листов может быть меньше. В этом случае измените тип бумаги или уменьшите количество листов для сшивания.
Сведения о форматах бумаги, для которых можно применять сшивание без скрепок, см. в разделах "Staple Finisher-AC," и "Booklet Finisher-AC".
В зависимости от характера использования таких документов и типа бумаги листы на месте сгиба могут отходить друг от друга.

Форматы бумаги, которую можно выводить

Ниже указаны форматы бумаги, которую допускается использовать для вывода на выводные лотки модуля Staple Finisher-AC или Booklet Finisher-AC. Однако бумага некоторых форматов в зависимости от заданных функций может не выводиться.
: Допускается
-: Не допускается
Формат бумаги
Лоток A
Лоток В
Лоток C
Лоток для буклетов
330 мм x 483 мм
-
SRA3
-
305 мм x 457 мм
A3
A4
-
A4R
A5R
-
Пользовательский формат
(от 98,4 x 148 до 330,2 x 487,7 мм)
-
Пользовательский формат (длинный лист)
(от 210 x 487,8 до 330,2 x 1300 мм)
-
-
*
-
Конверт
N.10 (COM10)
-
Monarch
-
DL
-
ISO-C5
-
Nagagata 3
-
Yougatanaga 3
-
Kakugata 2 (горизонтальная установка/вертикальная установка)
-
Пользовательский формат (от 98,4 x 148 до 330,2 x 487,7 мм)
-
* Если подключено устройство Long Sheet Tray-B.
ПРИМЕЧАНИЕ
Лоток для буклетов можно использовать только в том случае, если подсоединен Booklet Finisher-AC.
52Y1-045