管理色彩設定檔
色彩設定檔可匯入和匯出。
匯出色彩設定檔
1
2
按一下入口網站頁面的 [設定/註冊]。
遠端使用者介面畫面3
按一下 [印表機]

[色彩設定檔管理]。
4
按一下 [Export...]。
5
選擇設定檔類型,然後按一下 [開始匯出]。
匯入色彩設定檔
1
2
按一下入口網站頁面的 [設定/註冊]。
遠端使用者介面畫面3
按一下 [印表機]

[色彩設定檔管理]。
4
按一下 [Import...]。
5
選擇設定檔類型並在 [File Path:] 內指定匯入的檔案路徑。
僅支援與可匯入ICC版本2色彩設定檔。即使匯入並使用不支援的設定檔,亦無法套用。
6
按一下[Start Importing]。
指定的設定檔隨即匯入。
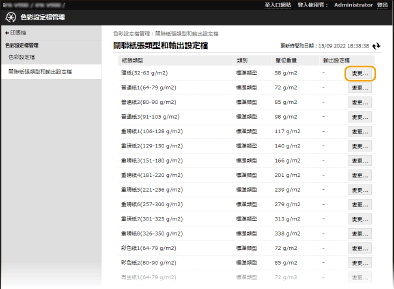
建立輸出設定檔與紙張類型的關聯
1
2
按一下入口網站頁面的 [設定/註冊]。
遠端使用者介面畫面3
按一下 [印表機]

[關聯紙張類型和輸出設定檔]。
4
按一下 [變更...] 對應希望和輸出設定檔建立關聯的紙張類型。
5
選擇希望建立關聯的設定檔,然後按一下 [確定]。
使用與紙張類型建立關聯的設定檔,即能指定在 PDF 檔案內不使用嵌入設定檔。
啟動遠端使用者介面

按下 [設定/註冊]

[印表機]

[PDF]

取消勾選 [使用嵌入資訊設定檔]

[確定]。