Настройка положения печати путем ввода измеренных значений
Измерьте величину смещения изображения на пробной странице или любой печатной странице и введите измеренные значения для выполнения настройки.
Можно выбрать элементы для настройки в соответствии с проблемами.
Если необходимо настроить несколько элементов, будет проще выровнять положение печати на обеих сторонах бумаги, выполнив настройки в следующем порядке:
Если отпечатанное изображение наклонено по диагонали (режим «Корректировать смещение изображения»)
Если отпечатанное изображение искажено в виде параллелограмма (режим Корректировать искажение (параллелограмм))
Если отпечатанное изображение искажено в виде трапеции (режим Корректировать искажение (трапеция)) (только Серия 8100)
При увеличении или уменьшении отпечатанного изображения (Настройка размера изображения)
Если положение изображения смещено влево или вправо в зависимости от направления подачи (Настройка выравнивания по левому краю)
Если изображение смещено к переднему или заднему краю в зависимости от направления подачи (Настройка выравнивания по переднему краю)
* Также можно настроить изображение, напечатанное на длинных листах бумаги.
* Нельзя выполнить настройку размера изображения, используя любую другую напечатанную страницу.
Шаг 1: Регистрация типов бумаги
* Этот шаг можно пропустить, если бумага уже зарегистрирована. Перейдите к шагу 2.
Шаг 2: Печать пробной страницы
Распечатайте пробную страницу на обеих сторонах бумаги с помощью панели управления.
Бумага, пригодная для двусторонней печатиВыполнить печать пробной страницы с компьютера с помощью Remote UI (Удаленный ИП) невозможно.
Необходимо иметь права администратора или администратора устройства.
На лицевой стороне пробной страницы напечатано «1st side».
Для точных результатов настройки распечатайте тестовую страницу (длинный лист) со 100% увеличением.
Распечатайте тестовую страницу на реальном длинном листе бумаги, который будет использоваться.
В зависимости от размера печатаемой бумаги индикаторы «b», «f», «h» и «j» могут быть напечатаны несколько раз. Выполните настройку в местах, наиболее близко расположенных к заднему краю бумаги.
Необходимая подготовка
Загрузите бумагу для реулировки.
* Для печати пробной страницы используйте до 10 листов бумаги.
1
Войдите в систему аппарата с правами администратора.
Выполнение входа в аппарат
2
На панели управления нажмите [

Параметры/Регистрация] на экране [Главный] или другом экране.
Экран [Главный]
Отобразится диалоговое окно [Параметры/Регистрация].
3
Нажмите [Предпочтения]

[Параметры бумаги]

[Параметры управления типом бумаги].
Отобразится диалоговое окно [Параметры управления типом бумаги].
4
Выберите зарегистрированную бумагу пользовательского типа и нажмите кнопку [Детали/Правка].
Отобразится диалоговое окно [Детали/Правка].
5
Нажмите [Изменить] для [Настройка позиции изобр.].
Отобразится экран выбора способа регулировки.
6
Нажмите [Не использовать сканер].
Отобразится диалоговое окно [Настройка позиции изобр.].
7
Напечатайте пробную страницу.
Распечатайте пробную страницу в соответствии с элементами, которые необходимо настроить.
* Пробную страницу, распечатанную для коррекции искажения (параллелограмм), также можно использовать для других элементов настройки, кроме коррекции смещения изображения.
Работа в режимах «Корректировать смещение изображения», «Корректировать искажение (параллелограмм)» или «Корректировать искажение (трапеция)»

1
Выберите [Задать детали].
2
Выберите [Коррекция смещ. изобр.], [Корр. искажен. (Параллелогр.)] или [Корр. искажен. (Трапеция)].
3
Выберите [Вывод тестовой страницы].
4
Укажите количество копий пробной страницы и нажмите [Далее].
5
Выберите источник с загруженной бумагой, который необходимо отрегулировать.
6
Нажмите [Пуск печати].
Выполняется печать пробных страниц.
Выполнение настройки размера изображения, настройки выравнивания по левому краю или настройки выравнивания по переднему краю

1
Выберите [Вывод тестовой страницы].
2
Укажите количество копий пробной страницы и нажмите [Далее].
3
Выберите источник с загруженной бумагой, который необходимо отрегулировать.
4
Нажмите [Пуск печати].
Выполняется печать пробных страниц.
Шаг 3: Регулировка путем ввода измеренных значений
Проверьте лицевую и обратную стороны пробной страницы или напечатанной страницы, чтобы определить, не смещено ли положение печати.
Если положение сместилось, измерьте каждую длину с лицевой и обратной стороны и выполните регулировку на основе измеренных значений.
Измерьте каждую длину на пробной или распечатанной странице.
Измерьте значения длины на лицевой и обратной сторонах. На лицевой стороне пробной страницы напечатано «1st side».
При корректировке смещения изображения

Пробная страница (стандартного размера)
Пробная страница (длинная)
Другая напечатанная страница
Измерьте длины «i» и «j».
На пробной странице индикатор «i» печатается слева от переднего края, а индикатор «j» — слева от заднего края относительно направления подачи.
При использовании напечатанной страницы, отличающейся от пробной страницы, измерьте также длину «h».
При коррекции искажения (параллелограмма)

Пробная страница (стандартного размера)
Пробная страница (длинная)
Другая напечатанная страница
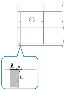
Измерьте длины «а» и «g».
На пробной странице индикатор «a» печатается справа от переднего края, а индикатор «g» — слева от переднего края относительно направления подачи.
Если вы используете напечатанную страницу, отличную от пробной, измерьте также длину «c».
При коррекции искажения (трапеция) (Серия 8100 только)

Пробная страница (стандартного размера)
Пробная страница (длинная)
Другая напечатанная страница
Измерьте длины «b» и «h». Для длинных листов бумаги измерьте длины «b» и «h», ближайшие к заднему краю бумаги.
На пробной странице индикатор «b» печатается с правой стороны, а индикатор «h» — с левой относительно направления подачи.
Если вы используете напечатанную страницу, отличную от пробной, измерьте также длину «c».
При выполнении настройки размера изображения

Пробная страница (стандартного размера)
Пробная страница (длинная)
Измерьте длины «f» и «d».
Если часть изображения не печатается на тестовой странице (стандартного размера), измерьте длину «f/2» (половина длины «f») и «d/2» (половина длины «d»). Сравните эти измеренные значения с предписанными значениями (f/2: 180,0 мм, d/2: 125,0 мм) для расчета коэффициента увеличения или уменьшения.
* При распечатке пробной страницы на бумаге размером менее 270,0 x 380,0 мм (10 5/8 x 15 дюймов), часть изображения не будет напечатана на бумаге.
Если часть изображения не печатается на пробной странице (длинной), следуйте приведенной ниже процедуре, чтобы сравнить значения и рассчитать коэффициент увеличения или уменьшения.
Если часть длины «d» отсутствует, измерьте длину «d/2» (половину длины «d») и сравните ее с предписанным значением (125,0 мм).
Если часть длины «f» отсутствует, измерьте длину «f», ближайшую к заднему краю, и сравните ее с соответствующим предписанным значением (450,0 мм, 550,0 мм или 650,0 мм).
* При распечатке пробной страницы на бумаге размером менее 270,0 x 762,0 мм (10 5/8 x 30 дюймов), часть изображения не будет напечатана на бумаге.
Выполнение настройки выравнивания по левому краю

Пробная страница (стандартного размера)
Пробная страница (длинная)
Другая напечатанная страница
Измерьте длину «i».
При использовании пробной страницы также можно выполнить регулировку путем проверки значения индикатора слева внизу. Проверив значение индикатора в левом нижнем углу, перейдите к шагу
2.
При использовании напечатанной страницы, отличающейся от пробной страницы, «i» находится слева от переднего края относительно направления подачи.
Настройка выравнивания по переднему краю

Пробная страница (стандартного размера)
Пробная страница (длинная)
Другая напечатанная страница
Измерьте длину «е».
При использовании пробной страницы также можно выполнить регулировку путем проверки значения индикатора на переднем крае относительно направления подачи. Проверив значение индикатора в левом нижнем углу, перейдите к шагу
2.
При использовании напечатанной страницы, отличающейся от пробной страницы, «e» находится на переднем крае относительно направления подачи.
Введите измеренные значения в каждый элемент для лицевой и обратной стороны.
При корректировке смещения изображения

Введите измеренные значения в поля [i] и [j], введите указанное ниже значение в поле [h] и нажмите кнопку [OK].
Для пробной страницы (стандартного размера): 360,0
Для пробной страницы (длинной): Значение, ближайшее к заднему краю (360,0, 450,0, 550,0 или 650,0)
Для другой напечатанной страницы: Измеренное значение
При коррекции искажения (параллелограмма)

Введите измеренные значения в поля [a] и [g], введите указанное ниже значение в поле [c] и нажмите кнопку [OK].
Для пробной страницы (стандартного размера или длинной): 250,0
Для другой напечатанной страницы: Измеренное значение
При коррекции искажения (трапеция) (Серия 8100 только)

Введите измеренные значения в поля [b] и [h], введите указанное ниже значение в поле [c] и нажмите кнопку [OK].
Для пробной страницы (стандартного размера или длинной): 250,0
Для другой напечатанной страницы: Измеренное значение
При выполнении настройки размера изображения

При вводе измеренных значений
Нажмите кнопку [Настройка с пом. тест. страницы], введите измеренные значения в [f] и [d] и нажмите кнопку [OK]

[OK].
Для длинной пробной страницы выполните приведенные ниже расчеты и введите значение в поле [f].
Заданное значение (360,0 мм) ÷ Положение измерения (450,0 мм, 550,0 мм или 650,0 мм) x Измеренное значение «f»
При вводе коэффициента увеличения или уменьшения
Если часть изображения не печатается на странице на шаге
1, введите рассчитанный коэффициент увеличения или уменьшения в [Масштаб (f)] и [Масштаб (d)] и нажмите кнопку [OK].
Чтобы увеличить или уменьшить изображение для печати в направлении, параллельном направлению подачи, введите значение в поле [Масштаб (f)].
Чтобы увеличить или уменьшить изображение для печати в направлении, перпендикулярном направлению подачи, введите значение в поле [Масштаб (d)].
Можно нажать [±], чтобы переключить введенное значение между положительным и отрицательным.
Выполнение настройки выравнивания по левому краю

При вводе измеренных значений
Введите в поле [Выравн. по лев. краю (i)] разницу между заданным значением (20,0 мм) и длиной «i», измеренной на шаге
1, а затем нажмите кнопку [OK].
Если измеренная длина «i» равна 21,5 мм, введите -1,5 мм.
Если измеренная длина «i» равна 18,5 мм, введите +1,5 мм.
Можно нажать [±], чтобы переключить введенное значение между положительным и отрицательным.
При регулировке с помощью индикатора в левом нижнем углу пробной страницы
Проверьте величину смещения между краем бумаги и центральной линией индикатора, введите соответствующее значение и нажмите [OK].
Если центральная линия индикатора находится за пределами края бумаги (когда центральная линия индикатора не печатается на странице), установите положительное значение (+). Положение печати перемещается к правому краю относительно направления подачи.
Пример: Если центральная линия индикатора на лицевой стороне находится на расстоянии 0,4 мм от края бумаги, задайте для [Лицевая сторона] значение «0,4 мм».
Если центральная линия индикатора находится внутри края бумаги, задайте отрицательное (-) значение. Положение печати перемещается к левому краю относительно направления подачи.
Пример: Если центральная линия индикатора на лицевой стороне находится на 0,6 мм внутри края бумаги, задайте для [Лицевая сторона] значение «-0,6 мм».
Настройка выравнивания по переднему краю

При вводе измеренных значений
Введите в поле [Выравн. по пер. краю (e)] разницу между заданным значением (20,0 мм) и длиной «e», измеренной на шаге
1, а затем нажмите кнопку [OK].
Если измеренная длина «e» равна 21,0 мм, введите -1,0 мм.
Если измеренная длина «e» равна 19,0 мм, введите +1,0 мм.
Можно нажать [±], чтобы переключить введенное значение между положительным и отрицательным.
При регулировке с помощью индикатора на переднем крае пробной страницы
Проверьте величину смещения между краем бумаги и центральной линией индикатора, введите соответствующее значение и нажмите [OK].
Если центральная линия индикатора находится за пределами края бумаги (когда центральная линия индикатора не печатается на странице), установите положительное значение (+). Положение печати перемещается к заднему краю относительно направления подачи.
Пример: Если центральная линия индикатора на лицевой стороне находится на расстоянии 0,4 мм от края бумаги, задайте для [Лицевая сторона] значение «0,4 мм».
Если центральная линия индикатора находится внутри края бумаги, задайте отрицательное (-) значение. Положение печати перемещается к переднему краю относительно направления подачи.
Пример: Если центральная линия индикатора на лицевой стороне находится на 0,6 мм внутри края бумаги, задайте для [Лицевая сторона] значение «-0,6 мм».
Снова распечатайте пробную страницу и проверьте результаты регулировки.
Работа в режимах «Корректировать смещение изображения», «Корректировать искажение (параллелограмм)» или «Корректировать искажение (трапеция)»

1
Выберите [Коррекция смещ. изобр.], [Корр. искажен. (Параллелогр.)] или [Корр. искажен. (Трапеция)].
2
Выберите [Вывод тестовой страницы].
3
Укажите количество копий пробной страницы и нажмите [Далее].
4
Выберите источник с загруженной бумагой, который необходимо отрегулировать.
5
Нажмите [Пуск печати].
Выполняется печать пробных страниц.
Выполнение настройки размера изображения, настройки выравнивания по левому краю или настройки выравнивания по переднему краю

1
Выберите [Не использовать сканер].
2
Выберите [Вывод тестовой страницы].
3
Укажите количество копий пробной страницы и нажмите [Далее].
4
Выберите источник с загруженной бумагой, который необходимо отрегулировать.
5
Нажмите [Пуск печати].
Выполняется печать пробных страниц.
4
Если необходимо выполнить дополнительную регулировку, повторите шаги с 1 по 3.
* При отображении экрана [Настройка позиции изобр.] после выполнения настройки выравнивания по левому краю или настройки выравнивания по переднему краю значение на экране сбрасывается на «0,0 мм», но ранее установленное значение сохраняется. Если необходимо повторить регулировку, проверьте индикатор на повторно напечатанной пробной странице и установите это значение.
5
Нажмите [OK]

[Закрыть].
ПРИМЕЧАНИЕ
Если необходимо сбросить сохраненные значения регулировки до исходных значений и выполнить регулировку еще раз, нажмите кнопку [Восстановить исходн. парам.] на экране установки значений.